?!DOCTYPE html PUBLIC "-//W3C//DTD XHTML 1.0 Transitional//EN" "http://www.w3.org/TR/xhtml1/DTD/xhtml1-transitional.dtd">
名称Q?2S404柔性防水套? 标签Q?/strong>柔性防水套?/a> 柔性套?/a> 02S404 产品用途:柔性防水套施q泛用于建筑、化工、钢铁、自来水、污水处理等单位 柔性防水套是适用于管道穿q墙壁之处受有振动或有严密防水要求的构筑物的五金gQ一般生产企业是Ҏ建筑U学研究院研制设计的S312?2S404标准N刉的。柔性防水套穿墙处之墙壁,如遇非凝土时应改用混凝土?
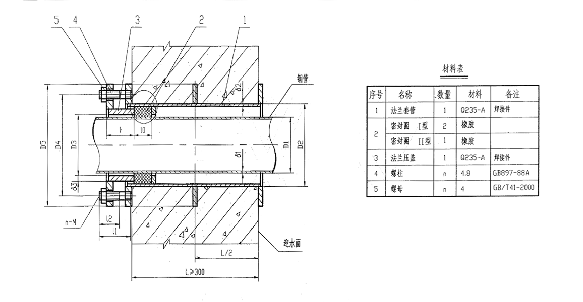
1、当q水面ؓ腐蚀性介质时Q可采用堵材料缝隙封c?br/>2、套穿墙处如遇非凝土墙壁Ӟ应局部改用凝土墙壁Q其筑范围应比环直径QD5Q大200Q而且必须套一ơ浇{于内墙。?br/>3、穿墙处混凝土墙壁厚应不于300Q否则应使墙壁一边加厚或两边加厚Q加厚部分的直径臛_为D5+200。?br/>4、套的重量以L=300计算Q如墙厚大于300Ӟ应另行计。?br/>5、柔性填料材料:沥青M、聚苯乙烯板、聚氯乙烯沫塑料板。?br/>6、密膏Q聚密膏、聚氨酯密封膏。?br/>7、焊接结构尺寸公差于形位公差按照JB/T5000.3-1998执行。焊接采用手工电弧焊Q焊条型号E4303Q牌号J422。焊~坡口得基本形状于尺寸按照GB985-88执行。?br/>8、当套管采用卷制成型Ӟ周厂允许偏差为:D2?00QD2>600u0.0035D2?/p>
一般在做水池的时候要用到套管Q它是管道通向水池的通道。但是普通的套管很难密封Q以致套与道之间会有漏水、套与墙壁之间也易漏水。只用防水套,可以解决套管与墙壁之间的漏水Q但不能解决套管与管道之间的密封Q柔性防水套正好可以解决两U问题?br/>套管可分为:普通套-Q比要用的管道粗2-4厘米Q固定在墙或板内Q管道从中通过。柔性套-Q就是在套管与管道之间用柔性材堵起到密封效果?/p>
如需最新数据请联系在线客服
02S404刚性防水套?/a>
02S404柔性防水套?/a>
柔性密闭防水套?/a>
04FS02两侧防护刚性密?/a>
沛_良众业有限公司 手机P18638277136 Q?371-64018718 传真Q?nbsp;0371-64018718 邮箱Q?50165323@qq.com 地址Qm义市西村镇西?nbsp; |址Q?a href="http://m.hqfof.com.cn" target="_self">http://m.hqfof.com.cn
咨询报hQ?8638277136(陈?
技术指|13849173666(陈工Q?/p>
邮箱Qhnlzpipe@126.com
国内热线Q?371-64018718
地址Qm义市西村镇西?/p>
|址Qhttp://m.hqfof.com.cn
许可证号Q?豫ICP?8020186?/a> 技术支持:良众|络?/p>